Форсунки Common Rail. Посмотрите, как они устроены.
Технология Common Rail (CR) завоевала дизельный мир уже более десяти лет тому назад. Сегодня тяжело найти легковой автомобиль с дизельным двигателем, который оснащен другой системой впрыска топлива. Ключом к продуктивной работе двигателя являются исправные форсунки CR.
Система полная преимуществ и …. недостатков
Рейка с форсунками Common Rail дебютировала в 1997 году в двигателях Alfa Romeo. Данное решение было мгновенно применено другими автопроизводителями. Причины были просты. По сравнению со старыми конструкциями, двигатели с Common Rail характеризировались более низким уровнем выброса выхлопных газов, более ровной и более тихой работой, высоким КПД и меньшим расходом топлива. Можно сказать, что «общая магистраль» (дословный перевод Common Rail) изменила дизеля навсегда. Их перестали считать громкими и некомфортными. Одновременно развеялся также миф о безотказности этих конструкций.
Правильная работа системы Common Rail основывается на исправности расположенных в магистрали форсунок. Эти небольшие подузлы отвечают за дозировку соответствующих порций топлива в цилиндры. Их характеризирует высокая точность и работа под высоким давлением. К сожалению, любое загрязнение в подаваемом дизельном топливе может привести к неисправностям. Почему?
Точность, прежде всего
Хотя сама форсунка – небольшая деталь, но ее устройство сложное. Она состоит из около 30 элементов. Некоторые из них, такие как прокладки, шайбы, шплинты или пружинки – очень мелкие детали.
Производители систем впрыска создали длинную и детальную инструкцию демонтажа и монтажа форсунок. Это процедура, которая требует большой точности, связанная с риском повреждения форсунки или других элементов двигателя. Правильное выполнение этой операции дает шанс отремонтировать форсунку. К сожалению, проведение данной процедуры в стандартных условиях автомастерской заранее обречено на неудачу.
Почему восстановление лучше?
— Восстановления форсунки Common Rail многоэтапный процесс. Он начинается с полного демонтажа и разделения всех элементов, а затем исключения элементов, которые не пригодны к повторному применению. Затем проводится промывка, которая также делится на несколько этапов, и которая позволяет получить чистоту поверхности форсунки согласно со стандартом.
Поврежденные детали заменяются новыми, а затем все монтируется с соблюдением параметров, указанных производителем.
Однако наиболее важным является третий этап восстановления, то есть регулировка элементов форсунки, чтобы получить технические параметры, которые соответствуют параметрам новой заводской форсунки – говорит Томаш Сорока из фирмы Lauber, которая занимается профессиональным восстановлением форсунок.
Восстановление является комплексной работой, которая заключается в проверке всех элементов форсунки, из-за которых она может неправильно работать. Попытка отремонтировать только отдельные элементы является рискованной и часто невыгодной из-за большой вероятности, что операция будет неудачной. Также, учитывая время и расходы на демонтаж и повторный монтаж форсунки, специалисты отговаривают от подобного решения. Рискованно также устанавливать бывшие в употреблении форсунки, снятые с двигателей других автомобилей. Риск заключается, прежде всего, в невозможности правильно оценить работоспособность данных подузлов. Речь идет не только о потенциальных повреждениях, возникших ранее, когда форсунка работала в двигателе, но и о повреждениях, которые могли возникнуть в процессе демонтажа.
Сложная конструкция форсунок Common Rail способствует тому, что их поломка может подорвать бюджет водителя. Цены на новые форсунки не такие уж и доступные. Однако можно рассчитывать на значительное уменьшение расходов без компромиссов относительно срока службы и гарантии правильной работы. Выбирая восстановленные форсунки, мы получим полноценную заводскую деталь, которая готова к длительной и безотказной работе.
Устройство форсунки Common Rail
Элементы, отмеченные красным цветом, используются для регулировки работы форсунки.
Common Rail – что это? Особенности, принцип работы и преимущества
Популярность дизельных двигателей объясняется сочетанием экономичности и высокого КПД. Одной из причин впечатляющих эксплуатационных характеристик стала разработка системы впрыска Common Rail, которая совершенно заслуженно входит в число наиболее прогрессивных и передовых технологий подачи топлива в силовую установку.
Сегодня ею оборудованы практически все дизельные ДВС, которые используются на транспортных средствах различного вида, начиная с автомобилей и заканчивая мощными сельскохозяйственными или дорожно-строительными машинами.
Определение
Common Rail представляет собой систему впрыска топлива для дизельного двигателя. Главной отличительной особенностью выступает общая магистраль или рампа, расположенная между ТНВД и форсунками. Именно она и дала название устройству, так как common rail переводится в английского как «общий путь» или «общая магистраль». Такая конструкция позволяет подавать дизтопливо под давлением, увеличивая общую эффективность работы двигателя.
Датой появления системы считается 1996 год, когда разработка компании Bosch была впервые установлена на серийный автомобиль. Популярность двигателей, оснащенных Common Rail, объясняется способностью достигать требуемой мощности при низком потреблении дизельного топлива. По стандартным оценкам использование системы уменьшает расход солярки на 15% при одновременном увеличении мощности двигателя на 40%.
Дополнительным и в современных условиях весьма важным достоинством рассматриваемой конструкции подачи топлива выступает соответствие современных экологическим стандартам. Заметное уменьшение токсичности выхлопных газов и низкий уровень издаваемое в процессе эксплуатации шума – вот еще две не менее серьезные причины востребованности и широкого распространения дизельных двигателей с использованием Common Rail.
Конструктивные особенности
Устройство Common Rail в значительной степени напоминает систему подачи топлива в инжекторных бензиновых двигателях. Перед впрыском дизельного топлива в цилиндры происходит аккумулирование давления, в результате чего такую конструкцию нередко называют аккумуляторной топливной системой.
Конструкция Common Rail предусматривает три основных элемента: стандартные для любого дизельного двигателя контуры высокого и низкого давления, а также дополняющий их электронный блок контроля и управления. Контур низкого давления практически не отличается от обычных системы и состоит из стандартного набора частей, включающего:
- топливный бак;
- топливный фильтр;
- подкачивающий насос;
- комплект соединительных трубопроводов.

Основные отличия Common Rail от обычного дизельного двигателя заключаются в устройстве контура высокого давления, состоящего из таких элементов:
- насос, который заменяет стандартный ТНВД и оснащается контрольным клапаном;
- аккумуляторный узел или рампа, также оборудованная датчиком для контроля давления. Она изготавливается в виде достаточно длинной двухслойной трубы, на которой размещаются штуцеры, предназначенные для фиксации форсунок;
- форсунки;
- комплект соединительных трубопроводов.
Важное значение для эффективной эксплуатации рассматриваемой системы имеет работа электронного блока управления или ЭБУ. Он включает в себя несколько датчиков, в автоматическом режиме передающих сигналы о следующих параметрах и характеристиках двигателя:
- положения распределительного и коленчатого вала;
- положение педали «газа»;
- уровень давления наддува;
- температура воздуха и охлаждающей жидкости;
- уровень давления топлива;
- массовый расход воздуха.

Анализ полученных данных производится ЭБУ также в автоматическом режиме, результатом чего становятся определение требуемого количества топлива, времени открытия форсунки и других рабочих параметров системы. После этого подается команда на начало впрыска и цикл повторяется по новой.
Принцип действия Коммон Рейл
Описанное выше устройство Common Rail обеспечивает простую и при этом эффективную работу двигателя. Сначала подкачивающий насос, входящий в контур низкого давления, засасывает дизельное топливо из бака. Далее оно очищается, проходя через фильтр, и поступает в контур высокого давления.
Затем горючее перемещается в аккумуляторный узел, где его давление повышается. Максимальное значение этого показателя составляет 135 МПа и контролируется автоматикой. После поступления команды от ЭБУ на впрыск контролирующий клапан открывается и топливо поступает бак через трубопроводы, соединенные с форсунками на рампе. На каждой форсунке устанавливается отдельный электромагнитный клапан или соленоид, управляющий ее работой, что является еще одной важной отличительной особенностью системы.
Наличие в системе ЭБУ позволяет с высоким уровнем точности управлять как параметрами давления топлива, так и количеством сжигаемого горючего. Следствием этого выступает максимальная отдача при сгорании топлива, которая сопровождается уменьшением его расхода при одновременном увеличении КПД дизельного двигателя. В качестве приятного и полезного бонуса происходит сокращение токсичности выхлопа.
Вывод
Популярность и широкое распространение Common Rail объясняется очевидными преимуществами системы перед любыми альтернативными вариантами. Большая часть достоинств уже была озвучена выше, однако, для большей наглядности целесообразно еще раз обратить на них внимание. Итак, наиболее важными плюсами рассматриваемой системы выступают:
- высокий КПД двигателя, который достигается за счет более эффективного сжигания топлива;
- существенное (до 15%) сокращение расхода горючего;
- еще более серьезное (до 40%) увеличение мощности двигателя;
- снижение показателей токсичности выхлопных газов, что позволяет двигателю полностью соответствовать современным экологическим стандартам.

Сочетание настолько впечатляющих характеристик выступает лучшим и весьма наглядным объяснением того, что практически все дизельные двигатели оснащаются сегодня Common Rail. Более того, возможности технологии далеко не исчерпаны, что позволяет надеяться на дальнейшее совершенствование системы.
на какой системе выгоднее содержать авто?
Современные дизельные автомобили практически в 2 раза экономичнее своих бензиновых собратьев. И это неудивительно, ведь КПД бензинового двигателя редко дотягивает до 30%, в то время как турбированный дизель выдает 50% и больше. Залог такой эффективности (кроме турбокомпрессора) — современная система впрыска.
Самые популярные сегодня системы питания — Common Rail и насос-форсунки. Принцип их работы отличается кардинально, но схожая эффективность заставляет многих водителей раздумывать, на какой системе выгоднее содержать авто? Давайте разбираться.
Плюсы и минусы форсунок Common Rail
Эта система питания имеет наибольшее распространение во многом благодаря тому, что постоянно развивается и с каждым годом становится все производительнее.
С момента первого запуска в 1997 году, сменилось уже несколько поколений Коммон Рэйл, каждое из которых работает под большим давлением. Четвертое поколение устройств способно развивать 220 МПа.
Достоинства Common Rail:
— работает очень экономично и тихо. Впрыск топлива, благодаря постоянному давлению в рампе, разбивается на несколько этапов. Это обеспечивает плавную работу двигателя, меньшую шумность и сгорание сажи;
— производит малое количество выбросов;
— форсунки хоть и имеют сложную конструкцию, но поддаются ремонту.
Недостатки:
— солярка должна быть очень чистой, особенно важно отсутствие воды;
— дороговизна обслуживания и замены системы;
— если одна форсунка вышла из строя, система полностью останавливается.
Плюсы и минусы двигателя с насос-форсунками
Вторая популярная система прямого впрыска, которая используется в современных дизельных двигателях — насос форсунка. Такое устройство совмещает в себе сразу два узла: и насос высокого давления, и форсунку.
Принцип её работы следующий:
— устанавливается отдельно на каждый цилиндр;
— подключается к распредвалу и набирает необходимое давление от него в камеру высокого давления с помощью плунжерного насоса;
— при помощи электромагнитного или пьезоэлектрического клапана регулируется дозированная подача топлива.
Плюсы этой системы в гибком управлении сгорания топлива и отсутствии дополнительного насоса. Работая под давлением 200-220 МПа, насос-форсунка обеспечивает очень высокую экономичность и чистоту выхлопа. При этом двигатель работает также тихо и ровно, как бензиновый.
Но система имеет и явные недостатки:
— быстрый износ насосной части. По статистике сервисного центра Турбомикрон, который занимается обслуживанием системы питания дизелей, ремонт насос форсунок требуется чаще, чем Коммон Рэйл;
— высокие требования к качеству солярки;
— плохая ремонтопригодность. Восстановлению поддаются насосные секции и плунжерные пары.
Если проблема сложнее, придется купить достаточно дорогую новую насос-форсунку.
Словом, каждая из систем имеет свои достоинства и недостатки. Но благодаря постоянному развитию Common Rail и разработке 4 поколения насосов, развивающих давление в 220 МПа, рынок дизельных автомобилей на 80% состоит именно из таких представителей. Однако, окончательный выбор за вами!
Компоненты системы common rail — Denso
Дизельные компоненты DENSO обеспечивают стабильную подачу топлива высокого давления в точном количестве и в точное время.
Типы
Компания DENSO поставляет следующие компоненты:
- ТНВД типов HP2, HP3, HP4
- Форсунки common rail
- Электро-магнитные клапаны для ТНВД типов HP2,HP3,HP4
Насосы ТНВД
Насосы ТНВД для систем common rail разработаны в соответствии со строгими требованиями по ограничению вредных выбросов в атмосферу.
Дизельная система common rail состоит топливного насоса высокого давления, топливной рампы, форсунок с электронным управлением, различных датчиков для наблюдения за текущими параметрами двигателя и блока управления всеми этими устройствами. Насос ТНВД приводится в движение двигателем и подает топливо под высоким давление в топливную рампу. На топливной рампе смонтированы форсунки, по одной на каждый цилиндр двигателя, которые подают топливо в камеру сгорания.
Дизельные инновации DENSO
Находясь на острие дизельных технологий, научно-исследовательские подразделения DENSO позволяют разрабатывать и выпускать все более эффективные, мощные и надежные дизельные двигатели с низким уровнем загрязнения окружающей среды.
Наши достижения:
- 1995: DENSO разработала первую в мире дизельную систему сommon rail
- 2002: DENSO представила первую в мире дизельную систему сommon rail с давлением впрыска 1800 бар
- 2005: DENSO представила первую в мире дизельную систему сommon rail с давлением впрыска 1800 бар и пьезоэлектрическими высокоточными форсунками, которые обеспечивают лучшие характеристики сгорания, экономичности и безопасности для дизельных двигателей
Принцип работы форсунки
Форсунка (другое название — инжектор), являясь конструктивным элементом системы впрыска, предназначена для дозированной подачи топлива, его распыления в камере сгорания (впускном коллекторе) и образования топливно-воздушной смеси.
Форсунка используется в системах впрыска как бензиновых, так и дизельных двигателей. На современных двигателях устанавливаются форсунки с электронным управлением впрыска.
В зависимости от способа осуществления впрыска различают следующие виды форсунок:
электромагнитная;
электрогидравлическая;
пьезоэлектрическая.
Электромагнитная форсунка
Электромагнитная форсунка устанавливается, как правило, на бензиновых двигателях, в т.ч. оборудованных системой непосредственного впрыска. Форсунка имеет достаточно простое устройство, включающее электромагнитный клапан с иглой и сопло.
Схема электромагнитной форсунки
1 сетчатый фильтр
2 электрический разъем
3 пружина
4 обмотка возбуждения
5 якорь электромагнита
6 корпус форсунки
7 игла форсунки
8 уплотнение
9сопло форсунки
Работа электромагнитной форсунки осуществляется следующим образом.
В соответствии с заложенным алгоритмом электронный блок управления обеспечивает в нужный момент подачу напряжения на обмотку возбуждения клапана. При этом создается электромагнитное поле, которое преодолевая усилие пружины, втягивает якорь с иглой и освобождает сопло. Производится впрыск топлива. С исчезновением напряжения, пружина возвращает иглу форсунки на седло.
Электрогидравлическая форсунка
Электрогидравлическая форсунка используется на дизельных двигателях, в т.ч. оборудованных системой впрыска Common Rail. Конструкция электрогидравлической форсунки объединяет электромагнитный клапан, камеру управления, впускной и сливной дроссели.
Схема электрогидравлической форсунки
1 сопло форсунки
2 пружина
3 камера управления
4 сливной дроссель
5 якорь электромагнита
6 сливной канал
7 электрический разъем
8 обмотка возбуждения
9 штуцер подвода топлива
10 впускной дроссель
11 поршень
12игла форсунки
Принцип работы электрогидравлической форсунки основан на использовании давления топлива, как при впрыске, так и при его прекращении.
В исходном положении электромагнитный клапан обесточен и закрыт, игла форсунки прижата к седлу силой давления топлива на поршень в камере управления. Впрыск топлива не происходит. При этом давление топлива на иглу ввиду разности площадей контакта меньше давления на поршень.
По команде электронного блока управления срабатывает электромагнитный клапан, открывая сливной дроссель. Топливо из камеры управления вытекает через дроссель в сливную магистраль. При этом впускной дроссель препятствует быстрому выравниванию давлений в камере управления и впускной магистрали. Давление на поршень снижается, а давление топлива на иглу не изменяется, под действием которого игла поднимается и происходит впрыск топлива.
Пьезоэлектрическая форсунка
Самым совершенным устройством, обеспечивающим впрыск топлива, является пьезоэлектрическая форсунка (пьезофорсунка). Форсунка устанавливается на дизельных двигателях, оборудованных системой впрыска Common Rail.
Преимуществами пьезофорсунки являются:
быстрота срабатывания (в 4 раза быстрее электромагнитного клапана), и как следствие возможность многократного впрыска топлива в течение одного цикла;
точная дозировка впрыскиваемого топлива.
Это стало возможным благодаря использованию пьезоэффекта в управлении форсункой, основанного на изменении длины пьезокристалла под действием напряжения. Конструкция пьезоэлектрической форсунки включает пьезоэлемент, толкатель, переключающий клапан и иглу, помещенные в корпусе.
Схема пьезоэлектрической форсунки
1 игла форсунки
2 уплотнение
3 пружина иглы
4 блок дросселей
5 переключающий клапан
6 пружина клапана
7 поршень клапана
8 поршень толкателя
9 пьезоэлемент
10 сливной канал
11 сетчатый фильтр
12 электрический разъем
13 нагнетательный канал
В работе пьезофорсунки, также как и электрогидравлической форсунки, используется гидравлический принцип. В исходном положении игла посажена на седло за счет высокого давления топлива.
При подаче электрического сигнала на пьезоэлемент, увеличивается его длина, которая передает усилие на поршень толкателя. Открывается переключающий клапан, топливо поступает в сливную магистраль. Давление выше иглы падает. Игла за счет давления в нижней части поднимается и производится впрыск топлива.
Количество впрыскиваемого топлива определяется:
длительностью воздействия на пьезоэлемент;
давлением топлива в топливной рампе.
Система питания Common Rail дизельного двигателя.
Система впрыска Common Rail
Общие сведения о системе питания Common Rail
Система впрыска Common Rail (Common Rail в переводе с английского — «общий путь», «общая рампа») является современной системой впрыска топлива дизельных двигателей. Впрочем, аналог такой системы применяется и в бензиновых двигателях с принудительным впрыском топлива, т. е. инжекторных двигателях.
Разработчиками системы Common Rail являются специалисты известной германской фирмы Bosch.
На серийных автомобилях с применением электронного управления такие системы появились в 1997 году.
В настоящее время работы по применению систем Common Rail ведутся практически во всех фирмах-производителях ТПА (R.Bosch, Lucas, Siemens, L’Orange).
Основное принципиальное отличие системы Common Rail от рассмотренной в предыдущей статье классической системы питания заключается в том, что топливо к форсункам подается не непосредственно от ТНВД, а от общего накопителя – топливной рампы. Топливная рампа (аккумулятор топлива) представляет собой толстостенный цилиндрический сосуд, способный выдерживать высокое давление, развиваемое ТНВД. В рампе поддерживается постоянное давление топлива с помощью ТНВД и регулятора давления, и каждая форсунка соединена топливопроводом с рампой.
В нужный момент блок управления формирует управляющий сигнал на электромагнитный (или пьезоэлектрический) клапан форсунки, форсунка открывается и топливо впрыскивается в цилиндр.
Таким образом, главной отличительной особенностью системы Common Rail является разделение процессов создания давления и впрыска топлива, что позволяет получить ряд преимуществ в работе.
Применение данной системы позволяет снизить расход топлива, токсичность отработавших газов, уровень шума дизеля, а также значительно улучшить его динамические характеристики. По сравнению с обычным дизелем система Common Rail позволяет снизить расход топлива до 40% при уменьшении токсичности отработавших газов и снижении шумности при работе на 10 %.
Главным преимуществом системы Common Rail является возможность управления подачей топлива посредством компьютера (электронного блока управления), что позволяет осуществлять широкий диапазон регулирования давления, количества и момента начала впрыска топлива.
Конструктивно система впрыска Common Rail составляет контур высокого давления топливной системы классического дизельного двигателя.
В системе используется непосредственный впрыск топлива, т.е. дизельное топливо впрыскивается непосредственно в камеру сгорания.
Система Common Rail включает топливный насос высокого давления, клапан дозирования топлива, регулятор давления топлива (контрольный клапан), топливную рампу и форсунки. Все элементы объединяют топливопроводы.
Топливный насос высокого давления (ТНВД) служит для создания высокого давления топлива и его накопления в топливной рампе. На современных дизелях, оборудованных системой питания Common Rail применяют топливные насосы высокого давления радиально-плунжерного или плунжерного типа.
Более подробно о ТНВД радиально-плунжерного типа здесь.
Клапан дозирования топлива регулирует количество топлива, подаваемого к топливному насосу высокого давления в зависимости от потребности двигателя. Клапан конструктивно объединен с ТНВД.
Регулятор давления топлива предназначен для управления давлением топлива в системе, в зависимости от нагрузки на двигатель.
Он устанавливается в топливной рампе.
Топливная рампа предназначена для выполнения нескольких функций: накопления топлива и содержание его под высоким давлением, смягчения колебаний давления, возникающих вследствие пульсации подачи от ТНВД, распределения топлива по форсункам.
Форсунка — важнейший элемент системы, непосредственно осуществляющий впрыск топлива в камеру сгорания двигателя. Форсунки связаны с топливной рампой топливопроводами высокого давления. В системе используются электрогидравлические форсунки или пьезофорсунки.
Впрыск топлива электрогидравлической форсункой осуществляется за счет управления электромагнитным клапаном. Активным элементом пьезофорсунки являются пьезокристаллы, значительно повышающие скорость работы форсунки.
Управление работой системы впрыска Common Rail обеспечивает система управления дизелем, которая объединяет датчики, блок управления двигателем и исполнительные механизмы систем двигателя.
Основными исполнительными механизмами системы впрыска Common Rail являются форсунки, клапан дозирования топлива, а также регулятор давления топлива.
***
Принцип действия системы впрыска Common Rail
Принцип работы системы питания Common Rail достаточно прост, и попытки ее применения известны достаточно давно – более полувека назад. Тем не менее, максимального эффекта от использования такой системы питания удается получить лишь с помощью компьютерного управления работой двигателя, поэтому широкое распространение подобные системы получили лишь недавно.
Рассмотрим подробнее работу Common Rail на приведенной ниже схеме (рис. 2).
С помощью топливоподкачивающего насоса (ТПН) топливо закачивается из топливного бака и через фильтр с влагоотделителем подается в радиально-плунжерный насос высокого давления (ТНВД) , который с помощью эксцентрикового вала приводит в движение три плунжера.
Топливный насос высокого давления напрямую связан с распределительным валом и подает порцию топлива в рампу при каждом обороте, а не так как в обычном двигателе один раз за два оборота.
От ТНВД топливо под большим давлением поступает в гидроаккумулятор (топливную рампу), откуда поступает на электро- или пьезогидравлические форсунки, управляемые компьютером.
Излишки топлива от форсунок и ТНВД сливаются в топливный бак через топливопроводы слива (магистраль обратного слива).
Схему можно увеличить в отдельном окне браузера, щелкнув по ней мышкой.
В нужный момент блок управления (ЭБУ) дает команду соответствующим форсункам на начало впрыска и обеспечивает определенную продолжительность открытия клапана форсунки. В зависимости от режимов работы двигателя блок управления двигателем корректирует параметры работы системы впрыска.
Начало впрыска и количество топлива, подаваемого в цилиндры двигателя через форсунки, зависит от начала и продолжительности сигнала электронного блока управления, формируемого на основании информации от датчиков. Этот сигнал зависит от нескольких параметров, в первую очередь — от режима работы двигателя.
Система управления дизелем включает датчики оборотов двигателя, положения коленчатого вала (датчик Холла), положения педали акселератора, расходомер воздуха, температуры охлаждающей жидкости, давления воздуха, температуры воздуха, давления топлива, кислородный датчик (лямбда-зонд) и некоторые другие.
Давление в системе регулируется по сигналу блока управления с помощью регулятора. На холостом ходу оно минимальное, что снижает шум работы форсунок и ТНВД, а при разгоне максимальное для обеспечения лучшей приемистости.
Многократный впрыск в системе Common Rail
Поскольку давление впрыска не зависит от оборотов двигателя и нагрузки, фактическое начало, давление и продолжительность впрыска могут быть свободно выбраны в широком диапазоне значений.
Кроме того, появляется возможность применения предварительного впрыска (или даже нескольких впрысков), регулируемого в зависимости от потребностей двигателя, что приводит к существенному сокращению шума двигателя наряду с улучшением процесса сгорания и сокращением выброса вредных веществ с отработавшими газами.
С целью повышения эффективной работы двигателя в системе Common Rail реализуется многократный впрыск топлива в течение одного цикла работы двигателя. При этом различают: предварительный впрыск, основной впрыск и дополнительный впрыск.
Предварительный впрыск небольшого количества топлива производится перед основным впрыском для повышения температуры и давления в камере сгорания, чем достигается ускорение самовоспламенения основного заряда, снижение шума и токсичности отработавших газов. В зависимости от режима работы двигателя производится:
- два предварительных впрыска — на холостом ходу;
- один предварительный впрыск — при повышении нагрузки;
- предварительный впрыск не производится — при полной нагрузке;
- основной впрыск обеспечивает работу двигателя в режиме частичных и номинальных нагрузок.
Дополнительный впрыск производится для повышения температуры отработавших газов и сгорания частиц сажи в сажевом фильтре (регенерация сажевого фильтра).
***
Достоинства и недостатки системы Common Rail
Как уже отмечалось выше, использование в дизелях системы питания Common Rail вместо классической системы питания дает ощутимый прирост мощности, экологичности и экономичности двигателю. Уменьшение расхода топлива, выброса вредных веществ, шума, наряду с повышением динамических показателей достигается возможностью компьютерного управления всеми процессами впрыска, что невозможно осуществить в традиционных системах питания, даже самых сложных и совершенных.
К существенным недостаткам системы Common Rail следует отнести сложность обслуживания, требующего от технического персонала высокой квалификации и необходимость применения специального оборудования для тестирования работы системы. Поэтому, если автомобиль эксплуатируется в условиях ограниченного технического сервиса невысокого уровня, надежнее использовать классическую систему питания.
Следует отметить, что система питания Common Rail подвергает моторное масло значительным тепловым нагрузкам.
Из-за более интенсивного горения верхняя часть (головка) поршней нагревается гораздо сильнее, чем у классического дизельного двигателя. Если головка поршня у классического дизеля непосредственного впрыска нагревается до 320-350 °C, при работе с системой питания Common Rail — свыше 400 °С.
В результате моторное масло выгорает и окисляется значительно интенсивнее. По этой причине в смазочной системе дизелей с впрыском типа Common Rail необходимо использовать синтетические или полусинтетические моторные масла.
***
Перспективы развития системы питания Common Rail
Совершенствование системы питания Common Rail осуществляется по пути увеличения давления впрыска. Очевидно, что чем выше давление в системе в момент впрыска, тем больше топлива успевает попасть в цилиндр за равный промежуток времени и, соответственно, реализовать большую мощность двигателя. Кроме того, впрыск под большим давлением обеспечивает высокое качество распыливания топлива форсункой, что благотворно сказывается на процессах смесеобразования и горения.
В современных двигателях повышение давления впрыска ограничивается прочностью аккумулятора топлива (рампы) и топливопроводов высокого давления, которые подвержены пульсирующим и вибрационным нагрузкам при работе двигателя и способны разрушиться.
Тем не менее, за полтора десятка лет инженерными решениями удалось увеличить давление на впрыске более, чем в полтора раза – у современных дизелей с системой питания Common Rail оно достигает 220 МПа и даже более.
Высокое давление впрыска надежнее обеспечить, используя систему питания типа насос-форсунка, о которой пойдет рассказ в следующей статье.
***
Устройство и принцип работы ТНВД системы Common Rail
Главная страница
Дистанционное образование
Специальности
Учебные дисциплины
Олимпиады и тесты
Пьезоэлектрическая форсунка, устройство, принцип работы
Пьезофорсунка – самое совершенное устройство впрыска топлива, устанавливаемое на дизельные двигатели с системой Common rail в настоящее время.
Преимуществом пьезофорсунок является быстрота их срабатывания – до 4х раз быстрей обычных электромагнитных инжекторов, и как следствие возможность многократного впрыска топлива в течение одного такта, а также гораздо более точная дозировка впрыскиваемого топлива.
Устройство пьезофорсунки
Все эти преимущества стали возможны благодаря использованию обратного пьезоэффекта в управлении форсункой, основанного на изменении размера пьезокристалла под действием напряжения.
Информация из Википедии: Пьезоэлектрический эффект — эффект возникновения поляризации диэлектрика под действием механических напряжений (прямой пьезоэлектрический эффект). Существует и обратный пьезоэлектрический эффект — возникновение механических деформаций под действием электрического поля. При прямом пьезоэффекте деформация пьезоэлектрического образца приводит к возникновению электрического напряжения между поверхностями деформируемого твердого тела, при обратном пьезоэффекте приложение напряжения к телу вызывает его деформацию.
Конструкция пьезоэлектрической форсунки схематично показана на рисунке:
1. игла распылителя
2. огнеупорная шайба
3. пружина иглы распылителя
4. блок дросселей
5. переключающий клапан
6. пружина клапана
7. поршень клапана
8. поршень толкателя
9. пьезоэлемент
10. канал обратки
11. микрофильтр
12. электрический разъем форсунки
13. канал подачи топлива
Как и в обыкновенной CR форсунке, пьезоэлектрической форсунке используется гидравлический принцип: В закрытом состоянии инжектора – игла остается посаженой на седло, за счет высокого давления. При поступлении с ЭБУ (блока управления) электрического сигнала на пьезоэлемент – увеличивается его длинна, открывая переключающий клапан. Топливо начинает сливаться в обратку – давление выше иглы падает и игла, под давлением в нижней части поднимается, производя впрыск дизельного топлива.
Количество впрыскиваемого топлива определяется двумя факторами: длительностью управляющего сигнала на пьезоэлемент и давлением топлива в рампе создаваемого наосом и регулируемого дозирующим клапаном.
В самое ближайшее время в 2015 году, в BOSCH Дизель Сервисах «БЕЛАВТОДИЗЕЛЬ», будет доступна возможность диагностики и восстановления пьезофорсунок BOSCH.
с прямым впрыском Common Rail — что такое технология CRDi?
Система прямого впрыска Common Rail (CRDi):
В большинстве современных топливных систем двигателей используется передовая технология, известная как CRDi или Common Rail Direct Injection. И бензиновые, и дизельные двигатели используют общую «топливную рампу», которая подает топливо к форсункам. Однако в дизельных двигателях производители называют эту технологию CRDi, тогда как в бензиновых двигателях ее называют непосредственным впрыском бензина (GDI) или стратифицированным впрыском топлива (FSI).Обе эти технологии имеют схожую конструкцию, поскольку они состоят из «топливной рампы», которая подает топливо к форсункам.
Однако они значительно отличаются друг от друга по таким параметрам, как давление и тип используемого топлива.
Кроме того, в системе прямого впрыска Common Rail сгорание происходит непосредственно в основной камере сгорания, расположенной в полости над днищем поршня. Сегодня производители используют технологию CRDi для преодоления некоторых недостатков обычных дизельных двигателей, которые при внедрении были медленными, шумными и низкими по производительности, особенно в легковых автомобилях.
Ниже представлена принципиальная линейная диаграмма CRDi:
Common Rail Direct Injection Технология CRDi работает в тандеме с ЭБУ двигателя, который получает данные от различных датчиков. Затем он рассчитывает точное количество топлива и время впрыска. В топливной системе используются более интеллектуальные по своей природе компоненты, которые управляют ими электрически / электронно. Кроме того, обычные форсунки заменяются более совершенными электромагнитными форсунками с электрическим приводом.
Они открываются сигналом ЭБУ в зависимости от таких переменных, как частота вращения двигателя, нагрузка, температура двигателя и т. Д.
Кроме того, в системе Common Rail используется топливная магистраль или, проще говоря, «топливораспределительная трубка», общая для всех цилиндров. Он поддерживает оптимальное остаточное давление топлива, а также действует как общий топливный резервуар для всех форсунок. В системе CRDi топливная рампа постоянно накапливает и подает топливо к форсункам с электромагнитным клапаном под необходимым давлением.Это полностью противоположно насосу впрыска топлива, подающему дизельное топливо через независимые топливопроводы к форсункам в случае конструкции более раннего поколения (DI).
Компоненты системы прямого впрыска Common Rail —
1. Топливный насос высокого давления
2. Общая топливная магистраль
3. Форсунки
4. Блок управления двигателем
Топливная система Common Rail (любезно предоставлено Bosch)Принцип работы:
Насос высокого давления подает топливо под давлением.
Насос сжимает топливо под давлением около 1000 бар или 15000 фунтов на квадратный дюйм. Затем он подает топливо под давлением по трубопроводу высокого давления ко входу топливной рампы. Топливная рампа распределяет топливо по отдельным форсункам, которые затем впрыскивают его в камеру сгорания.
Более того, в большинстве современных двигателей CRDi используется система насос-форсунок с турбонагнетателем, которая увеличивает выходную мощность и соответствует строгим нормам выбросов. Кроме того, он улучшает мощность двигателя, реакцию дроссельной заслонки, топливную экономичность и снижает выбросы.За исключением некоторых изменений дизайна, основной принцип и работа технологии CRDi остаются в основном одинаковыми для всех. Однако его производительность в основном зависит от конструкции камеры сгорания, давления топлива и типа используемых форсунок.
Производители используют специальные аббревиатуры, чтобы выделить свой дизельный продукт CRDi среди конкурентов.
SL. | Акроним | Компания |
| 1 | CDI | Mercedes Benz |
| 2 | CRDi | Hyundai |
| 3 | CR4 | Tata |
| 4 | CRDe | Mahindra |
| 5 | D | BMW, Volvo |
| 6 | DiCOR | Tata |
| 7 | DDiS | Suzuki |
| 8 | D-4D | Тойота |
| 9 90 038 | DCi | Renault, Nissan |
| 10 | DI-D | Mitsubishi |
| 11 | i-CTDi, i-DTEC | Honda |
| 12 | JTD | Fiat |
| 13 | VCDi | Chevrolet |
| 14 | TDC | Ford |
| 15 | TDI TM | Volkswagen |
CRDi Сокращения |
• TDI ™ — с прямым впрыском с турбонаддувом — разработан, произведен и зарегистрирован группой Volkswagen и включает турбодизельный двигатель в сочетании с непосредственным впрыском цилиндров.
Посмотреть анимацию двигателя CRDi можно здесь:
Продолжайте читать: Электронный впрыск топлива >>
О CarBikeTech
CarBikeTech — это технический блог. Его члены имеют опыт работы в автомобильной сфере более 20 лет. CarBikeTech регулярно публикует специальные технические статьи по автомобильным технологиям.
Посмотреть все сообщения CarBikeTech
Система впрыска топлива Common Rail
Система впрыска топлива Common RailХанну Яэскеляйнен, Магди К.Хаир
Это предварительный просмотр статьи, ограниченный некоторым исходным содержанием. Для полного доступа требуется подписка DieselNet.
Пожалуйста, войдите в систему , чтобы просмотреть полную версию этого документа.
Abstract : В системе Common Rail топливо распределяется по форсункам от аккумулятора высокого давления, называемого рампой. Рельс питается от топливного насоса высокого давления. Давление в рампе, а также начало и конец сигнала, активирующего форсунку для каждого цилиндра, контролируются электроникой.
Преимущества системы Common Rail включают гибкость в управлении как моментом впрыска, так и скоростью впрыска.
Введение
Достоинства архитектуры системы впрыска Common Rail были признаны с момента разработки дизельного двигателя. Ранние исследователи, в том числе Рудольф Дизель, работали с топливными системами, которые содержали некоторые важные особенности современных систем впрыска дизельного топлива с общей топливной магистралью. Например, в 1913 году компании Vickers Ltd. был выдан патент на систему впрыска Common Rail с механическими форсунками.Великобритании [2092] . Примерно в то же время в Соединенных Штатах был выдан еще один патент Томасу Гаффу на топливную систему для двигателя с искровым зажиганием с прямым впрыском в цилиндр, использующего электромагнитные клапаны с электрическим приводом. Дозирование топлива производилось путем регулирования времени, в течение которого клапаны были открыты [2085] . Идея использования клапана впрыска с электрическим приводом на дизельном двигателе с топливной системой Common Rail была разработана Бруксом Уокером и Гарри Кеннеди в конце 1920-х годов и применена к дизельному двигателю Atlas-Imperial Diesel Engine Company в Калифорнии в начале 1930-х годов.
[2184] [2183] [2178] [2182] .
Работа над современными системами впрыска топлива Common Rail была начата в 1960-х годах компанией Societe des Procedes Modernes D’Injection (SOPROMI) [2086] . Однако пройдет еще 2–3 десятилетия, прежде чем регулирующее давление подстегнет дальнейшее развитие и технология станет коммерчески жизнеспособной. Технология SOPROMI была оценена компанией CAV Ltd. в начале 1970-х годов, и было обнаружено, что она дает мало преимуществ по сравнению с существующими системами P-L-N, которые использовались в то время. По-прежнему требовалась значительная работа для повышения точности и производительности соленоидных приводов.
Дальнейшая разработка дизельных систем Common Rail началась в 1980-х годах. К 1985 году компания Industrieverband Fahrzeugbau (IFA) из бывшей Восточной Германии разработала систему впрыска Common Rail для своего грузовика W50, но прототип так и не поступил в серийное производство, и проект был заброшен через пару лет [2096] .
Примерно в то же время General Motors также разрабатывала систему Common Rail для применения в своих легких двигателях IDI [2174] .Однако с отменой их программы по производству легких дизельных двигателей в середине 1980-х годов дальнейшее развитие было остановлено.
Спустя несколько лет, в конце 1980-х — начале 1990-х, производители двигателей начали ряд проектов по развитию, которые позже были приняты производителями оборудования для впрыска топлива:
- Компания Nippondenso доработала систему Common Rail для грузовых автомобилей [2093] [2094] , которую они приобрели у Renault и которая была введена в производство в 1995 году на грузовиках Hino Rising Ranger.
- В 1993 году Bosch — возможно, из-за некоторого давления со стороны Daimler-Benz — приобрел технологию UNIJET, первоначально разработанную усилиями Fiat и Elasis (дочерняя компания Fiat), для дальнейшей разработки и производства [2099] . Система Common Rail для легковых автомобилей Bosch была запущена в производство в 1997 году для автомобилей Alfa Romeo 156 [194] 1998 модельного года и Mercedes-Benz C-класса.

- Вскоре после этого Лукас объявил о контрактах на Common Rail с Ford, Renault и Kia, производство которых начнется в 2000 году.
- В 2003 году Fiat представил систему Common Rail следующего поколения, способную производить 3-5 впрысков / цикл двигателя для двигателя Multijet Euro 4.
Дополнительную информацию об истории систем Common Rail можно найти в литературе [2178] [2940] .
Целью этих программ развития, начатых в конце 1980-х — начале 1990-х годов, была разработка топливной системы для будущего легкового автомобиля с дизельным двигателем. В начале этих усилий было очевидно, что в будущих дизельных автомобилях будет использоваться система сгорания с прямым впрыском из-за явного преимущества в экономии топлива и удельной мощности по сравнению с преобладающей тогда системой сгорания с непрямым впрыском.Цели разработок включали комфорт вождения, сравнимый с таковым у автомобилей с бензиновым двигателем, соответствие будущим ограничениям выбросов и улучшенную экономию топлива.
Рассматривались три группы архитектур топливной системы: (1) распределительный насос с электронным управлением, (2) насос-форсунка с электронным управлением (EUI или насос-форсунка) и (3) система впрыска Common Rail (CR). В то время как усилия по каждому из этих подходов приводят к коммерческим топливным системам для серийных автомобилей, система Common Rail обеспечила ряд преимуществ и в конечном итоге станет доминирующей в качестве основной топливной системы, используемой в легковых автомобилях.Эти преимущества включали:
- Давление топлива не зависит от частоты вращения двигателя и условий нагрузки. Это обеспечивает гибкость в управлении как количеством впрыска топлива, так и моментом впрыска, а также обеспечивает лучшее проникновение и перемешивание распылителя даже при низких оборотах двигателя и нагрузках. Эта особенность отличает систему Common Rail от других систем впрыска, в которых давление впрыска увеличивается с увеличением числа оборотов двигателя, как показано на Рисунке 1 [289] .
Эта характеристика также позволяет двигателям создавать более высокий крутящий момент на низких оборотах, особенно если используется турбонагнетатель с изменяемой геометрией (VGT).Следует отметить, что хотя системы Common Rail могут работать с максимальным давлением в рампе, поддерживаемым постоянным в широком диапазоне оборотов двигателя и нагрузок, это делается редко. Как обсуждается в другом месте, давление топлива в системах Common Rail можно регулировать в зависимости от частоты вращения двигателя и нагрузки, чтобы оптимизировать выбросы и производительность, обеспечивая при этом долговечность двигателя. Рисунок 1 . Взаимосвязь между давлением впрыска и частотой вращения двигателя в различных системах впрыска - Пониженные требования к пиковому крутящему моменту топливного насоса. По мере развития двигателей с высокоскоростным прямым впрыском (HSDI) больше энергии для смешивания воздуха с топливом поступало от импульса распыления топлива, в отличие от вихревых механизмов, используемых в более старых системах сгорания IDI.
Только системы впрыска топлива под высоким давлением были способны обеспечить энергию смешивания и хорошую подготовку к распылению, необходимую для низких выбросов ТЧ и УВ. Для выработки энергии, необходимой для впрыска топлива примерно за 1 миллисекунду, обычный распределительный насос должен обеспечивать почти 1 кВт гидравлической мощности за четыре (в 4-цилиндровом двигателе) импульсов длительностью 1 мс на оборот насоса, что создает значительную нагрузку на приводной вал [922] .Одна из причин тенденции к использованию систем Common Rail заключалась в том, чтобы минимизировать требования к максимальному крутящему моменту насоса. В то время как требования к мощности и среднему крутящему моменту для насоса Common Rail были одинаковыми, подача топлива под высоким давлением осуществляется в аккумулятор, и, таким образом, пиковый расход (и максимальный крутящий момент, необходимый для привода насоса) не обязательно должен совпадать с событие впрыска, как в случае с распределительным насосом.
Поток нагнетания насоса можно распределить на более длительную часть цикла двигателя, чтобы поддерживать более равномерный крутящий момент насоса. - Улучшено качество шума. Двигатели DI характеризуются более высоким пиковым давлением сгорания и, следовательно, более высоким уровнем шума, чем двигатели IDI. Было обнаружено, что улучшенный шум и низкие выбросы NOx лучше всего достигаются путем введения пилотного (-ых) впрыска (ов). Это было проще всего реализовать в системе Common Rail, которая была способна обеспечивать стабильную подачу небольшого количества пилотного топлива во всем диапазоне нагрузки / скорости двигателя.
###
Как работает система впрыска Common Rail?
Индивидуальные решения для гибкого использования топлива
С повышением технических характеристик систем впрыска возрастают и требования к чистоте и качеству топлива.Таким образом, топливо должно соответствовать заранее определенным значениям вязкости и смазывающей способности, поскольку компоненты насосов высокого давления
и форсунок смазываются топливом. Он также не должен иметь каких-либо загрязнений, которые могли бы привести к абразивному повреждению при применяемом высоком давлении. Поэтому для обеспечения правильной работы двигателя можно использовать только дизельное топливо, одобренное для данного применения и соответствующее применимым стандартам. По запросу клиента mtu проводит анализ для получения одобрения других видов топлива, связанных с конкретным применением, в тесном сотрудничестве с компанией Rolls-Royce Power Systems, брендом L’Orange или альтернативными поставщиками.В некоторых случаях, например, отсутствие смазывающих свойств топлива
может быть компенсировано специальными покрытиями на системе впрыска. Кроме того, mtu помогает клиентам при проектировании бака и топливной системы на объекте. Это представляет большой интерес, например, для горнодобывающих машин, которые подвергаются высокому уровню запыленности.
Резюме
MTU постоянно совершенствует свои двигатели, чтобы гарантировать, что они будут соответствовать жестким будущим стандартам выбросов, при этом потребляя при этом как можно меньше топлива.С этой целью mtu оптимизирует сгорание топлива в цилиндре с помощью своей системы впрыска Common Rail с электронным управлением в сочетании с другими технологиями, такими как рециркуляция выхлопных газов. За счет достижения чистого и эффективного сгорания расходы на системы нейтрализации выхлопных газов могут быть минимизированы, а в некоторых случаях полностью устранены. Компания mtu успешно использовала системы Common Rail еще в 1996 году и постоянно совершенствовала эту технологию в сотрудничестве с компанией Rolls-Royce Power Systems, брендом L’Orange и другими поставщиками.Благодаря своему обширному опыту в области систем впрыска Common Rail, mtu может оптимально использовать потенциал технологии, чтобы сделать двигатели чрезвычайно экономичными и чистыми.
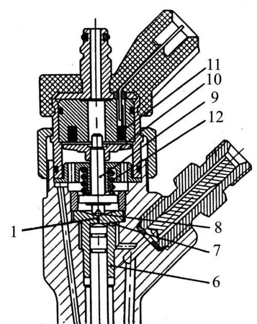
ИНЖЕКТОР ОБЫЧНОЙ ПЕРЕДАЧИ — ЭЛЕКТРОМАГНИТНЫЙ (CRIE)
Общее описание
Форсунки Common Rail обеспечивают точный электронный контроль времени и количества впрыска топлива, а более высокое давление, обеспечиваемое технологией Common Rail, обеспечивает лучшее распыление топлива.Чтобы снизить уровень шума двигателя, электронный блок управления двигателем может впрыснуть небольшое количество дизельного топлива непосредственно перед событием основного впрыска («пилотный» впрыск), таким образом уменьшая его взрывоопасность и вибрацию, а также оптимизируя время впрыска и количество для изменений в качество топлива, холодный запуск и тд.
Некоторые усовершенствованные топливные системы Common Rail выполняют до пяти впрысков за такт.
Внешний вид
На рис. 1 показан типовой электромагнитный инжектор Common Rail.
Фиг.1
Принцип работы электромагнитной форсунки common rail
Электромагнитный клапан TWV (двухходовой клапан) открывает и закрывает выпускное отверстие для управления как давлением в камере управления, так и началом и окончанием впрыска. Принцип работы показан на рис. 2.
Фиг.2
Без впрыска
Когда на соленоид не подается ток, сила пружины превышает гидравлическое давление в камере управления.Таким образом, электромагнитный клапан опускается вниз, эффективно закрывая выпускное отверстие. По этой причине гидравлическое давление, которое прикладывается к управляющему поршню, заставляет пружину сопла сжиматься. Это закрывает иглу форсунки, и в результате топливо не впрыскивается.
Фаза впрыска
Когда ток первоначально подается на соленоид, сила притяжения соленоида подтягивает электромагнитный клапан вверх, эффективно открывая выпускное отверстие и позволяя топливу вытекать из камеры управления.После того, как топливо вытечет, давление в камере управления снижается, подтягивая командный поршень вверх. При этом игла сопла поднимается и начинается впрыск. Топливо, которое проходит через выпускное отверстие, попадает в трубу утечки и под командный поршень. Топливо, которое течет под поршнем, поднимает иглу поршня вверх, что помогает улучшить реакцию форсунки на открытие и закрытие. Ток открытия 85В, 7А. Ток удержания 12В, 2А.
Конец фазы впрыска
Когда ток продолжает подаваться на соленоид, сопло достигает максимального подъема, при этом скорость впрыска также находится на максимальном уровне.Когда ток на соленоид отключается, электромагнитный клапан опускается, что приводит к немедленному закрытию иглы форсунки и прекращению впрыска.
• Проверить сопротивление
- Убедитесь, что зажигание выключено и двигатель не запущен
- Отсоедините двухштырьковый разъем форсунки.
- Подключите точный омметр между выводами разъема форсунки.
Сопротивление должно быть от 0,4 до 0,8 Ом. - Вставить разъем форсунки.
• Проверка выходного сигнала
Зависимость напряжения форсунки от тока
- Установите первый вход осциллографа на 100 В (полная шкала).
- Подключите активный измерительный провод этого канала к одному из проводов форсунки. Затем подключите заземляющий провод к заземлению корпуса.
- Подключите токоизмерительные клещи постоянного / переменного тока к другому каналу осциллографа. Установите диапазон клещей постоянного / переменного тока на 20 А.
Важное примечание: Следует зажимать только один из двух проводов, а не оба.Неважно, какой провод будет зажиматься токовыми клещами: положительный или отрицательный. Это повлияет только на полярность измеряемого тока. - Запустите двигатель, прогрейте его до рабочей температуры и оставьте на холостом ходу.
- Сравните результат с осциллограммой на рис. 2.
Рис. 3
Примечание: Испытательная установка может немного искажать записанные сигналы.
Напряжение форсунки
- Установите все входы осциллографов на 100 В (полная шкала).
- Подключите активный измерительный провод канала № 1 к одному из проводов первого инжектора.
Затем подключите заземляющий провод к заземлению корпуса. - Подключите активный измерительный провод канала № 2 к одному из проводов второго инжектора.
- Подключите активный измерительный провод канала № 3 к одному из проводов третьего инжектора.
- Подключите активный измерительный провод канала № 4 к одному из проводов четвертой форсунки.
- Запустите двигатель, прогрейте его до рабочей температуры и оставьте на холостом ходу
- Сравните результат для каждого инжектора с осциллограммой на рис.3
Рис.4
• Возможное повреждение форсунок:
- Обрыв цепи, короткое замыкание на плюс или массу в проводе (ах)
- Отсутствие проводимости разъемного соединения или плохое соединение
- Заземление ослаблено или корродировано
- Механическая неисправность в компоненте
Common rail: компоненты, принцип работы и функции
Опубликовано 17 ноября 2019 г.Кунле Шонаике
Компания Bosch представила первую систему Common Rail в 1997 году.Система названа в честь общего резервуара высокого давления (Common Rail), который снабжает топливом все цилиндры. В обычных системах впрыска дизельного топлива давление топлива должно создаваться индивидуально для каждого впрыска. Однако в системе Common Rail создание давления и впрыск разделены, что означает, что топливо постоянно находится под давлением, требуемым для впрыска.
Системы Common Rail имеют модульную конструкцию. Каждая система состоит из насоса высокого давления, форсунок, рейки и электронного блока управления.
Common Rail — один из важнейших компонентов в системе прямого впрыска дизельного топлива и бензина. Основное различие между прямым и стандартным впрыском — подача топлива и способ его смешивания с поступающим воздухом. В системе прямого впрыска топливо впрыскивается непосредственно в камеру сгорания, минуя период ожидания во впускном коллекторе. Под управлением электронного блока топливо впрыскивается непосредственно там, где камера сгорания наиболее горячая, что обеспечивает более равномерное и тщательное сгорание топлива.
Основные преимущества прямого впрыска топлива с общей топливораспределительной рампой можно резюмировать в снижении выбросов выхлопных газов и шума, улучшении топливной экономичности и улучшенных общих характеристиках двигателя. Система состоит из насоса высокого давления, форсунок, рейки и электронного блока управления.
Common Rail представляет собой длинный металлический цилиндр. Он получает топливо от насоса и распределяет его по форсункам под чрезвычайно высоким давлением. Повышение давления топлива — результат новейшей конструкции двигателей.И дизельные, и бензиновые двигатели, как правило, становятся меньше и легче для повышения топливной экономичности и производительности, что увеличивает давление топлива и устанавливает совершенно новые стандарты для производства высококачественной системы Common Rail.
Во-первых, решающее значение имеет геометрическая точность детали. Точная конструкция способствует повышению производительности системы Common Rail. Даже минимальные колебания размера или формы могут привести к поломке. Определение правильных параметров на этапе проектирования важно, но что действительно важно, так это их строгое соблюдение в процессе производства.
Выбор материалов — это тоже момент, который нельзя недооценивать. Хорошие механические свойства обеспечивают прочность и предотвращают коррозию. Используемые материалы — обычно сталь и нержавеющая сталь. Common Rail для дизельного двигателя изготовлен из стали, а Common Rail для бензинового двигателя изготовлен из нержавеющей стали, потому что топливо слишком агрессивно, а нержавеющая сталь обладает большей устойчивостью к коррозии, чем сталь.
Common Rail с прямым впрыском
В топливных системах большинства современных двигателей используется передовая технология, известная как CRDi или непосредственный впрыск Common Rail.И бензиновые, и дизельные двигатели используют общую «топливную рампу», которая подает топливо к форсункам. Однако в дизельных двигателях производители называют эту технологию CRDi, в то время как бензиновые двигатели называют ее прямым впрыском бензина или послойным впрыском топлива. Обе эти технологии имеют схожую конструкцию, поскольку они состоят из «топливной рампы», которая подает топливо к форсункам. Однако они значительно отличаются друг от друга по таким параметрам, как давление и тип используемого топлива.
При непосредственном впрыске Common Rail сгорание происходит непосредственно в основной камере сгорания, расположенной в полости над днищем поршня.Сегодня производители используют технологию CRDi для преодоления некоторых недостатков обычных дизельных двигателей, которые при внедрении были медленными, шумными и низкими по производительности, особенно в легковых автомобилях.
Технология CRDi работает в тандеме с ЭБУ двигателя, который получает данные от различных датчиков. Затем он рассчитывает точное количество топлива и время впрыска. Топливная система включает компоненты, которые более интеллектуальны по своей природе и управляют ими электрически / электронно.Кроме того, обычные форсунки заменяются более совершенными электромагнитными форсунками с электрическим приводом. Они открываются сигналом ЭБУ в зависимости от таких переменных, как частота вращения двигателя, нагрузка, температура двигателя и т. Д.
В системе Common Rail используется топливная рампа «общая для всех цилиндров» или, простыми словами, «топливораспределительная трубка». Она поддерживает оптимальное остаточное давление топлива, а также действует как общий топливный резервуар для всех форсунок. В системе CRDi топливная рампа постоянно накапливает и подает топливо к форсункам с электромагнитным клапаном под необходимым давлением.Это полностью противоположно насосу впрыска топлива, подающему дизельное топливо через независимые топливопроводы к форсункам в случае конструкции более раннего поколения (DI).
Режим работы
В обычных системах впрыска дизельного топлива давление топлива должно создаваться индивидуально для каждого впрыска. Однако в системе Common Rail создание давления и впрыск разделены, что означает, что топливо постоянно находится под давлением, требуемым для впрыска. Создание давления происходит в насосе высокого давления.
Насос сжимает топливо и подает его по трубопроводу высокого давления к входу в рампу, которая действует как общий резервуар высокого давления для всех форсунок — отсюда и название «common rail».
Оттуда топливо распределяется по отдельным форсункам, которые впрыскивают его в камеру сгорания цилиндра.
Насосы высокого давления
Насос высокого давления сжимает топливо и подает его в необходимом количестве. Он постоянно подает топливо в резервуар высокого давления (рампу), тем самым поддерживая давление в системе.Требуемое давление доступно даже при низких оборотах двигателя, поскольку создание давления не связано с частотой вращения двигателя. Большинство систем Common Rail оснащено радиально-поршневыми насосами. В компактных автомобилях также используются системы с индивидуальными насосами, которые работают при низком давлении в системе.
Форсунки
Форсунка в системе Common Rail состоит из форсунки, привода для пьезо-форсунок или электромагнитного клапана для форсунок с электромагнитным клапаном, а также гидравлических и электрических соединений для приведения в действие иглы форсунки.
Устанавливается в каждый цилиндр двигателя и соединяется с рейкой короткой трубкой высокого давления. Инжектор управляется электронной системой управления дизельным двигателем. Это гарантирует, что игла форсунки открывается или закрывается исполнительным механизмом, будь то электромагнитный клапан или пьезоэлектрический клапан. Форсунки с пьезоприводом несколько уже и работают с особенно низким уровнем шума. Оба варианта демонстрируют одинаково короткое время переключения и обеспечивают предварительный впрыск, основной впрыск и вторичный впрыск, чтобы обеспечить чистое и эффективное сгорание топлива в любой рабочей точке.
Компоненты CRDi
- Топливный насос высокого давления — нагнетает топливо до высокого давления
- Трубка высокого давления — подает топливо к форсунке
- Форсунка — впрыскивает топливо в цилиндр
- Подающий насос — всасывает топливо из топливного бака
- Фильтр топливный — фильтрует топливо
- Блок управления двигателем
Некоторые типы топливных баков также имеют топливный отстойник на дне фильтра для отделения воды от топлива.
Функции системы
Система впрыска дизельного топлива выполняет четыре основные функции:
Подача топлива
Элементы насоса, такие как цилиндр и плунжер, встроены в корпус насоса высокого давления. Топливо сжимается до высокого давления, когда кулачок поднимает плунжер, а затем направляется к форсунке.
Регулировка количества топлива
В дизельных двигателях приток воздуха практически постоянный, независимо от частоты вращения и нагрузки.Если количество впрыска изменяется в зависимости от частоты вращения двигателя и время впрыска остается постоянным, мощность и расход топлива изменяются. Поскольку мощность двигателя почти пропорциональна количеству впрыска, она регулируется педалью акселератора.
Регулировка момента впрыска
Задержка зажигания — это период времени между моментом впрыска, воспламенения и сгорания топлива и достижением максимального давления сгорания. Поскольку этот период времени почти постоянен, независимо от частоты вращения двигателя, для регулировки и изменения момента впрыска используется таймер, позволяющий достичь оптимального сгорания.
Топливо для распыления
Когда топливо нагнетается нагнетательным насосом и затем распыляется из форсунки, оно тщательно смешивается с воздухом, улучшая воспламенение. Результат — полное сгорание.
Принцип работы CRDi
Насос высокого давления подает топливо под давлением. Насос сжимает топливо под давлением около 1000 бар или около 15000 фунтов на квадратный дюйм. Затем он подает топливо под давлением по трубопроводу высокого давления ко входу топливной рампы.Оттуда топливная рампа распределяет топливо по отдельным форсункам, которые затем впрыскивают его в камеру сгорания.
В большинстве современных двигателей CRDi используется насос-форсунка с турбонагнетателем, который увеличивает выходную мощность и соответствует строгим нормам выбросов. Кроме того, он улучшает мощность двигателя, реакцию дроссельной заслонки, топливную экономичность и снижает выбросы. За исключением некоторых изменений дизайна, основной принцип и принцип работы технологии CRDi остаются в основном одинаковыми для всех. Однако его производительность в основном зависит от конструкции камеры сгорания, давления топлива и типа используемых форсунок.
Достоинства и недостатки
Преимущества
(1) Более низкие выбросы: Одна из причин, по которой дизельные двигатели с системой Common Rail были изобретены производителями транспортных средств, заключалась в том, что правительство ввело более строгие правила в отношении выбросов углерода. Помните, когда большие дизельные грузовики выпускали в воздух много черного дыма? Вы вряд ли заметите это, потому что дизельный двигатель с общей топливораспределительной рампой спроектирован таким образом, чтобы сокращать эти выбросы.Это лучше для окружающей среды и на один шаг ближе к борьбе с глобальным потеплением.
(2) Больше мощности: Исследования показали, что автомобили с дизельным двигателем Common Rail производят на 25 процентов больше мощности, чем традиционный дизельный двигатель. Это означает, что общие характеристики дизельного двигателя будут улучшены.
(3) Меньше шума: Системы непосредственного впрыска топлива известны своей шумностью во время вождения. Common Rail снизит уровень шума, который вы, возможно, слышали.Это делает вождение более приятным для вас и окружающих на дороге.
(4) Меньше вибраций: Раньше в традиционных дизельных двигателях с прямым топливом чувствовалось много вибраций. Теперь эти вибрации были уменьшены с помощью системы непосредственного впрыска Common Rail.
(5) Лучший пробег: Поскольку дизельный двигатель Common Rail обеспечивает большую мощность, это означает, что вы увеличите пробег на вашем топливе. В результате ваша экономия топлива также будет лучше.Это означает, что в дороге вы тратите меньше денег на топливо.
Недостатки
(1) Дорогой автомобиль: Автомобили с дизельным двигателем Common Rail будут дороже, чем с традиционным дизельным двигателем. Если вы работаете в компании, которая поставляет вам автомобиль, то это не проблема. Но если это личный автомобиль, возможно, вам не захочется тратить лишние деньги.
(2) Дорогие детали: Поскольку автомобили с системой Common Rail более дорогие, можно ожидать, что запасные части также будут дорогими.
(3) Больше обслуживания: Дизельные двигатели Common Rail потребуют большего обслуживания, чем традиционный дизельный двигатель. Даже если вы выполняете обслуживание самостоятельно, это все равно потребует больше времени, усилий и, возможно, затрат.
Получено из Интернета
Масло, специально упомянутое для обслуживания моего автомобиля Passat, — это масло Castrol. Но масла мало, и если его увидеть, то оно довольно дорогое. Могу ли я использовать любое другое масло? Спасибо, сэр. Аноним
Я считаю, что это просто соглашение в маркетинговых целях.Если вы знаете точную спецификацию, вы можете купить любую другую марку, у которой есть спецификации.
Я хочу поблагодарить вас за самоотверженное служение в обучении всех нас. Купил подержанный автобус Тойота Хаммер 2004 года выпуска. Я знал, что двигатель был под подозрением, но никогда не знал, что он выйдет из строя так рано. Единственный вариант, который предлагают механики — купить новый двигатель стоимостью N1,5 млн. Это единственный выход? Abrah
Читайте также
Иногда это единственная альтернатива, которая у вас есть.Но в зависимости от повреждения старого двигателя, вы все равно сможете восстановить его. Но только ваш механик может определить урон.
Общие коды
P0697: Обрыв цепи опорного напряжения датчика «C»
Значение
Модуль управления имеет внутренние 5-вольтовые опорные шины, которые называются опорными 5-вольтами. Каждая опорная шина обеспечивает 5-вольтную опорную цепь для более чем одного датчика. Следовательно, состояние неисправности в одной цепи опорного напряжения 5 В повлияет на другие цепи опорного напряжения 5 В, подключенные к шине опорного напряжения.Модуль управления контролирует напряжение на 5-вольтовых опорных шинах.
Возможные причины
- Неисправен модуль управления двигателем
- Жгут проводов ЕСМ обрыв или закорочен
- Плохое электрическое соединение в цепи контроллера ЭСУД
- Короткое замыкание датчика в цепи 5 В
- P0698: Низкое напряжение цепи опорного напряжения датчика «C»
Значение
Модуль управления имеет внутренние 5-вольтовые опорные шины, называемые 5-вольтовыми опорными шинами.Каждая опорная шина обеспечивает 5-вольтную опорную цепь для более чем одного датчика. Следовательно, состояние неисправности в одной цепи опорного напряжения 5 В повлияет на другие цепи опорного напряжения 5 В, подключенные к шине опорного напряжения. Модуль управления контролирует напряжение на 5-вольтовых опорных шинах.
Возможные причины
- Неисправен модуль управления двигателем
- Жгут проводов ЕСМ обрыв или закорочен
- Плохое электрическое соединение в цепи контроллера ЭСУД
- Короткое замыкание датчика в цепи 5 В
P0699: Цепь опорного напряжения «C» датчика — высокий уровень
Значение
Модуль управления имеет внутренние 5-вольтовые опорные шины, которые называются опорными 5-вольтами.Каждая опорная шина обеспечивает 5-вольтную опорную цепь для более чем одного датчика. Следовательно, состояние неисправности в одной цепи опорного напряжения 5 В повлияет на другие цепи опорного напряжения 5 В, подключенные к шине опорного напряжения. Модуль управления контролирует напряжение на 5-вольтовых опорных шинах.
Возможные причины
- Неисправен модуль управления двигателем
- Жгут проводов ЕСМ обрыв или закорочен
- Плохое электрическое соединение в цепи контроллера ЭСУД
- Короткое замыкание датчика в цепи 5 В
P0700: Неисправность системы управления коробкой передач
Значение
Модуль управления трансмиссией отслеживает неисправности датчиков и исполнительных механизмов, относящихся к управлению трансмиссией.Когда TCM обнаруживает неисправность в системе управления, в модуль управления двигателем отправляется сигнал, чтобы в ближайшее время загорелся индикатор двигателя или индикатор сервисного двигателя. ECM сохраняет код P0700, и это означает, что TCM обнаружил неисправность в органах управления коробкой передач.
Технические примечания
Поскольку P0700 представляет собой простой и информативный код, проверьте TCM на наличие дополнительных кодов для решения проблемы.
Возможные симптомы
- Загорается лампа двигателя (или сигнальная лампа скорого обслуживания двигателя)
- Проблемы с управляемостью
- Проблемы переключения передач
Возможные причины
- Короткое замыкание или разрыв цепи в модуле управления коробкой передач
- Неисправен модуль управления коробкой передач
P0701: Диапазон / характеристики системы управления коробкой передач
Значение
Модуль управления трансмиссией обнаружил другие настройки диагностических кодов неисправности коробки передач, этот код неисправности включает тормозной режим.
Возможные причины
- Неисправен модуль управления коробкой передач
- Жгут проводов модуля управления коробкой передач обрыв или закорочен
- Плохое электрическое соединение в цепи модуля управления коробкой передач
P0702: Блок управления коробкой передач
Значение
Код запускается модулем управления двигателем, когда в модуле управления коробкой передач хранится код.
Возможные причины
- Неисправен модуль управления коробкой передач
- Жгут проводов модуля управления коробкой передач обрыв или закорочен
- Плохое электрическое соединение в цепи модуля управления коробкой передач
P0703: Работоспособность выключателя тормоза.
Значение
Модуль управления двигателем обнаружил ускорение и замедление без изменения переключателя тормоза
Технические примечания
Проверить, работает ли стоп-сигнал с педалью тормоза.Если стоп-сигналы не работают, замените или отрегулируйте выключатель тормоза.
Возможные симптомы
- Загорается лампа двигателя (или сигнальная лампа скорого обслуживания двигателя)
- Не работают стоп-сигналы
Возможные причины
- Неисправен выключатель тормоза
- Неправильный выключатель тормоза
- Обрыв или короткое замыкание жгута выключателя тормоза
- Плохое электрическое соединение цепи выключателя тормоза
P0704: Неисправность входной цепи переключателя сцепления
Значение
Когда педаль сцепления нажата, сигнал напряжения от переключателя сцепления к модулю управления двигателем низкий.Если ЕСМ не видит этого изменения с высокого на низкий, когда скорость автомобиля превышает 0 миль в час, он устанавливает код P0704.
Когда обнаруживается код?
ECM не обнаружил никакого движения в переключателе положения педали сцепления
Технические примечания
Проверьте регулировку переключателя сцепления, переключатель должен открываться и закрываться при нажатии педали сцепления. Если переключатель отрегулирован правильно, замените переключатель сцепления, чтобы решить проблему.
Возможные причины
- Неисправен выключатель сцепления
- Неправильно отрегулированный выключатель сцепления
- Жгут проводов выключателя сцепления обрыв или закорочен
- Плохое электрическое соединение цепи выключателя сцепления
- Неисправен модуль управления двигателем
P0705: Неисправность цепи датчика дальности передачи
Значение
Переключатель парковочного / нейтрального положения включает переключатель диапазонов коробки передач.Переключатель диапазонов коробки передач определяет положение рычага селектора, когда рычаг переключения передач находится в положении N или P, и отправляет сигнал в модуль управления коробкой передач.
Когда обнаруживается код?
Переключатель диапазонов коробки передач определяет положение рычага селектора и отправляет сигнал в TCM.
Возможные причины
- Неисправность переключателя парковочного / нейтрального положения
- Неправильная регулировка переключателя парковочного / нейтрального положения
- Жгут проводов переключателя парковочного / нейтрального положения обрыв или закорочен
- Плохое электрическое соединение цепи переключателя положения стояночного / нейтрального положения
Авторские права PUNCH.
Все права защищены. Этот материал и другой цифровой контент на этом веб-сайте нельзя воспроизводить, публиковать, транслировать, переписывать или распространять полностью или частично без предварительного письменного разрешения PUNCH.
Контактное лицо: [адрес электронной почты защищен]
Как работают форсунки Bosch и некоторые связанные с ними формы неисправностей
Давайте начнем здесь:
Как работают форсунки Bosch и некоторые связанные с ними формы неисправностей
Роль форсунки в системе Common Rail состоит в том, чтобы точно распылять топливо в камеру сгорания в нужное время, чтобы топливо полностью сгорело.
Каждый масляный канал форсунки Common Rail включает в себя часть низкого напряжения и часть высокого давления:
Форсунка состоит из пяти основных компонентов:
Корпус форсунки (1) скрепляет сопло с несколькими отверстиями (2) с узлом электромагнитной катушки (3) и содержит корпус клапана (4). Якорь соленоида (5) движется вместе с шариком. Шар открывает и закрывает так называемый А-дроссель. Корпус клапана имеет два отверстия (A- и Z-дроссели), регулирующие давление в управляющей камере (6), и соответствующий управляющий поршень (7).Управляющий поршень находится в непосредственном физическом соединении с иглой форсунки (8).
Когда форсунка не работает, игольчатый клапан форсунки блокирует отверстие, предотвращая впрыск топлива под высоким давлением в камеру сгорания. Когда катушка соленоида инжектора получает сигнал ЭБУ, якорь всасывается из-за электромагнитной энергии, генерируемой катушкой, в то же время шар клапана и держатель шара клапана поднимаются под давлением масла, так же как и игольчатый клапан форсунки. В этот момент отверстие открывается, топливо в хорошей форме распыляется и распыляет его в цилиндр.Количество распыляемого топлива также точно контролируется ЭБУ, и каждый полный процесс впрыска можно разделить на следующие пять этапов:
(1) выкл. (Без впрыска)
(2) открыто (начало впрыска)
(3) Полное открытие (непрерывный впрыск)
(4) Выкл. (Уменьшение объема впрыска)
(5) полностью закрыто (остановка впрыска)
Проанализировав отказ основных частей следующих форсунок Common Rail, мы можем узнать основную причину отказа форсунок, а затем разработать профилактические меры.
(1) Электромагнитный клапан
Ошибка плавления электромагнитной катушки: слишком большое напряжение питания или слишком долгое время работы, что вызвало плавление электромагнитной катушки.
Профилактический способ: Запрещается искусственно подавать внешнее напряжение на форсунки.
Форма отказа показана на следующем рисунке:
(2) Ослабление разъема высокого давления форсунки:Разъем высокого давления форсунки не герметичен через кожух.
Причина неисправности: при снятии трубки высокого давления соединение поворачивается, а затем ослабляется.
Профилактический способ: при демонтаже маслопровода высокого давления зафиксировать соединение высокого давления гаечным ключом
(3) Коррозия внутри форсунки Common Rail высокого давленияПрофилактические мероприятия: проверять качество мазута и периодически сливать воду в период грубой фильтрации
Форма отказа показана на следующем рисунке:
(4) Форсунка Common Rail высокого давления: изношены внутренние детали (например, компоненты клапана и т. Д.))Признаки: горит лампа неисправности автомобиля, при ускорении газа идет черный дым, а мощность недостаточна.
Причина неисправности: Топливо содержит большое количество примесей
Профилактические меры: убедиться в качестве фильтра, особенно в качестве фильтра тонкой очистки (использование нестандартных фильтров строго запрещено). Установите воздушный фильтр на вентиляционное отверстие топливного бака, чтобы избежать загрязнения топлива песком и пылью во внешней среде и обеспечить качество топлива.
Форма отказа показана на следующем рисунке:
(5) Уплотняющая стальная прокладка: в цилиндр подается воздухПризнак: Горючие газы проникают в возвратное масло и вызывают недостаточную мощность двигателя.
Причина неисправности: примеси вызывают образование ямок на поверхности медной прокладки, что снижает герметичность.
Меры предосторожности: повторное использование медных прокладок запрещено. Чтобы обеспечить чистоту медной прокладки, нижней части монтажного отверстия двигателя и крышки форсунки при установке форсунки, используйте только медную прокладку, чтобы не допустить оставшуюся прокладку в монтажном отверстии двигателя.
Форма отказа показана на следующем рисунке:
(6) Форсунка Common Rail: внешнее повреждениеПризнак: топливная форсунка не работает должным образом, из-за чего двигатель работает нестабильно.
Причина неисправности: неправильная установка и неправильная работа.
Меры предосторожности: Затяните крышки электромагнитных клапанов, клеммы и разъемы жгута проводов при установке форсунки
.Обзор систем Common Rail | SpringerLink
- Felix Landhäußer
- Rainer Heinzmann
- Mikel Лоренте Susaeta
- Andreas Rettich
- Клаус Ortner
- Вернер Brühmann
- Ulrich Projahn
- Майкл Heinzelmann
- Ralf Wirth
- Peter Schelhas
- Майке Keller
- Sandro Soccol
- Герберт Штрабергер
- Гельмут Саттманн
- Тило Клам
- Дэвид Хольцер
- Андреас Кох
- Патрик Мэттес
- Томас Кюглер
- Мартин Гроссер
- Андреас
- Мартин Гроссер
- Андреас
Первый онлайн:
Часть Bosch Professional Automotive Information серия книг (BPAI)Реферат
Требования, предъявляемые к системам впрыска топлива дизельных двигателей, постоянно растут.Более высокое давление, более быстрое переключение и изменяемая кривая скорости нагнетания, измененная в зависимости от рабочего состояния двигателя, сделали дизельный двигатель экономичным, чистым и мощным. В результате дизельные двигатели даже вошли в сферу роскошных седанов.
Ключевые слова
Дизельный двигатель со стороны всасывания шестеренчатый насос Блок управления двигателем Давление в рампеЭти ключевые слова были добавлены машиной, а не авторами. Это экспериментальный процесс, и ключевые слова могут обновляться по мере улучшения алгоритма обучения.
Это предварительный просмотр содержимого подписки,
войдите в, чтобы проверить доступ.
Предварительный просмотр
Невозможно отобразить предварительный просмотр. Скачать превью PDF.
Информация об авторских правах
© Springer Fachmedien Wiesbaden 2015
Авторы и аффилированные лица
- Феликс Ландхойссер
- Райнер Хайнцманн
- Микель Лоренте Сусаэта
- 1
- 06
- Ральф Вирт
- Питер Шелхас
- Майке Келлер
- Сандро Соккол
- Герберт Штрабергер
- Хельмут Саттманн
- Тило Клам
- Дэвид Хольцер 8 Тило Клам
- Дэвид Хольцер 8
- This entry was posted in Разное. Bookmark the permalink.
Патрик Гюльтес
Андреас Кохш Андреас Михальске




Эта характеристика также позволяет двигателям создавать более высокий крутящий момент на низких оборотах, особенно если используется турбонагнетатель с изменяемой геометрией (VGT).Следует отметить, что хотя системы Common Rail могут работать с максимальным давлением в рампе, поддерживаемым постоянным в широком диапазоне оборотов двигателя и нагрузок, это делается редко. Как обсуждается в другом месте, давление топлива в системах Common Rail можно регулировать в зависимости от частоты вращения двигателя и нагрузки, чтобы оптимизировать выбросы и производительность, обеспечивая при этом долговечность двигателя. Рисунок 1 . Взаимосвязь между давлением впрыска и частотой вращения двигателя в различных системах впрыска
Только системы впрыска топлива под высоким давлением были способны обеспечить энергию смешивания и хорошую подготовку к распылению, необходимую для низких выбросов ТЧ и УВ. Для выработки энергии, необходимой для впрыска топлива примерно за 1 миллисекунду, обычный распределительный насос должен обеспечивать почти 1 кВт гидравлической мощности за четыре (в 4-цилиндровом двигателе) импульсов длительностью 1 мс на оборот насоса, что создает значительную нагрузку на приводной вал [922] .Одна из причин тенденции к использованию систем Common Rail заключалась в том, чтобы минимизировать требования к максимальному крутящему моменту насоса. В то время как требования к мощности и среднему крутящему моменту для насоса Common Rail были одинаковыми, подача топлива под высоким давлением осуществляется в аккумулятор, и, таким образом, пиковый расход (и максимальный крутящий момент, необходимый для привода насоса) не обязательно должен совпадать с событие впрыска, как в случае с распределительным насосом.
Поток нагнетания насоса можно распределить на более длительную часть цикла двигателя, чтобы поддерживать более равномерный крутящий момент насоса.